對于新安裝或停用3個月以上的三相異步電動機,使用前都要用兆歐表測量繞組的絕緣電阻,具體包括測量繞組對地的絕緣電阻和繞組間的絕緣電阻。

1、 兆歐表測量繞組對地的絕緣電阻
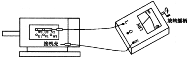
測量電動機繞組對地的絕緣電阻使用兆歐表(500V),測量如圖1所示,在測量時,先拆掉接線端子的電源線,端子間的連接片保持連接,將兆歐表的L測量線接任一接線端子,E測量線接電動機的機殼,然后搖動兆歐表的手柄進行測量,對于新電動機,絕緣電阻大于1MΩ為合格,對于運行過的電動機,絕緣電阻大于0.5MΩ為合格。若繞組對地絕緣電阻不合格,應烘干后重新測量,達到合格才能使用。

圖1 兆歐表測量電動機繞組對地的絕緣電阻
2、兆歐表測量繞組間的絕緣電阻
測量電動機繞組間的絕緣電阻使用兆歐表(500V),測量如圖2所示。測量時,拆掉接線端子和電源線和端子間的連接片,將兆歐表的L測量線接某相繞組和一個接線端子,E測量線接另一相繞組的一個接線端子,然后搖動兆歐表的手柄進行測量,繞組間的絕緣電阻大于1MΩ為合格,最低限度不能低于0.5MΩ。再用同樣方法測量其他相之間的絕緣電阻,若繞組對地絕緣電阻不合格,應烘干受重新測量,達到合格才能使用。

圖2 兆歐表測量電動機繞組間的絕緣電阻
相關閱讀
◆如何正確使用兆歐表
