1、工業熱電阻的基本參數
①分度號與標稱電阻值工業鉑熱電阻、銅熱電阻在0℃的標稱電阻值及分度號如表1-7所示:
表1 熱電阻的標稱電阻值及分度號

注:
1.表中|t|是以攝氏度表示的溫度的絕對值;
3.對R0=100Ω的鉑熱電阻,A級允許偏差不適用于t>650℃的溫度范圍;
4.二線制熱電阻偏差的檢定,包括內引線的電阻值,對具有多支感溫元件的二線制熱電阻,如要求只對感溫元件進行偏差檢定,則制造廠必須提供內引線的電阻值。
②溫度測量范圍及允許偏差
所謂允許偏差,即熱電阻實際的電阻與溫度關系偏離分度表的允許范圍。工業鉑、銅熱電阻的溫度測量范圍及以溫度表示的允許偏差Et,如表1-7。
③工業熱電阻的電阻值和電阻比的誤差熱電阻在100℃及0℃的電阻比W100,對標稱電阻比W100的允許誤差△W100,如表2所示。
表2 工業熱電阻的電阻值和電阻比的誤差

④熱響應時間當溫度發生階躍變化時,熱電阻的電阻值變化至相當于該階躍變化的某個規定百分比所需要的時間,稱熱響應時間。
⑤額定電流
為了減少熱電阻自熱效應引起的誤差,對熱電阻元件都規定了額定電流。額定電流是指在測量電阻時,允許在某元件中連續通過的最大電流,一般為2-5mA。
熱電阻檢定裝置是用來檢定熱電阻體的標準儀器及配套設備的總稱。熱電阻基本參數中的前三項,是熱電阻檢定工作中要完成的項目。
2、工業熱電阻檢定裝置
熱電阻檢定裝置選用的計量標準器及配套設備:
①二等標準鉑電阻溫度計
二等標準鉑電阻溫度計WZPB-2的主要技術要求筆者建議讀者到標準鉑電阻生產廠家產品頁面http://zyswsm.com/product/106.html了解,在本文不做詳細介紹。
②二等標準水銀溫度計(國家最新標準已不再區分一等和二等標準水銀溫度計,統稱標準水銀溫度計)檢銅電阻時做標準使用。
熱電阻檢定裝置配套設備:
①0.02級直流電位差計或測溫電橋及配套裝置
采用直流電位差計測量電阻時,還需配有0.01級的標準電阻,其阻值為10Ω和100Ω各一個,直流毫安表,低電勢多點轉換開關以及直流電源,其穩定度不得低于5×10-6A/h。
如果用測溫電橋測量電阻時,只需配有低電勢四點轉換開關,用于引線換向,消除引線電阻。
②冰點槽
冰點槽用來測定熱電阻在0℃時的電阻值和凍制水三相點瓶時用,其高為600mm,內徑大于250mm。
③金屬水沸點爐或恒溫油槽
用來測定熱電阻在100℃時的電阻值。
爐的基本結構是在爐子的圓筒內裝有一定量的蒸餾水,爐子下部用加熱器,沸騰的蒸餾水面上是飽和蒸汽。溫度計插管焊接在爐子的頂蓋上,懸掛在飽和蒸汽中即可反映出水的沸點溫度。
④恒溫油槽
恒溫油槽內部采用不銹鋼板制成,并采用磁力攪拌器裝于槽體下部,用精密PID控制器控溫,具有控溫精度高、溫場均勻、加熱速度快等特點。
水沸點槽各插孔之間的最大溫差不大于0.01℃。恒溫油槽工作區域(蓋板下100-135omm)的垂直溫差不大于0.02℃,水平溫差不大于0.01℃。
主要技術指標與檢定方法:
①外觀檢查
主要檢查裝配質量,包括各部件是否完好無缺,裝配是否牢固,各種標志是否齊全,特別是絕緣性能是否符合要求(鉑電阻的絕緣電阻不大于100MΩ,銅電阻不小于20MΩ,可用兆歐表進行測定。
②示值檢查
熱電阻實際電阻值對分度表標稱電阻值以溫度表示的允許偏差E和熱電阻在100℃和0它的電阻比W100。對標稱電阻比W100的允許偏差△W100,見表1與表2。
③檢定方法
熱電阻檢定只需測定其0℃和100℃時的電阻值。這種電阻值可采用電位差計或電橋測定。其檢定方法采用比較法,即將標準溫度計與被檢溫度計同時放人冰點槽或油溫恒槽內進行比較。
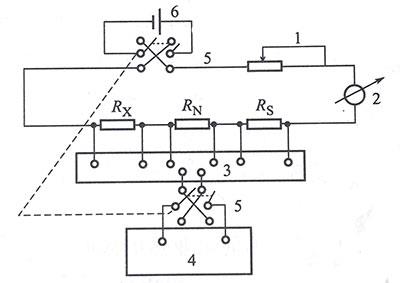
檢定二線制感溫元件時,應在感溫元件毎根引線接出兩根導線,然后按圖1接線。
說明:1為電阻箱;2為毫安表;3為多點轉換開關;4為電位差計;5為電流反向開關;6為直流穩壓電源;RN為標準電阻;RS為二等標準鉑電阻溫度計WZPB-2;RX為被檢電阻。
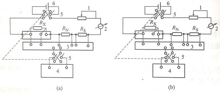
④三線制熱電阻
由于使用時不包括引線電阻,因此在檢定電阻值時需采用兩次測量方法,以便消除引線電阻的影響。圖2為用補償法測定三線制感溫元件電阻接線圖。
說明:1為電阻箱;2為毫安表;3為多點轉換開關;4為電位差計;5為電流反向開關;6為直流穩壓電源;RN為標準電阻;RS為二等標準鉑電阻溫度計WZPB-2;RX為被檢電阻。
第一次如圖1-25(a)所示,包括一根引線電阻。第二次如圖1-25(b)所示,包括兩根引線電阻。用第一次測量結果的兩倍減去第二次測量結果的數值,即為感溫元件實際電阻值。熱電阻的檢定周期一般不超過一年。
