朱紅霞和沈興全工程師在《金屬切削溫度測量方法的研究》文中綜述了金屬切削加工技術中切削溫度的測量方法,并對幾種新穎鉆削溫度測試方法進行概述。分別指出了各類溫度測定方法的適用場合及優缺點,對金屬切削溫度測量方法的發展趨勢做了分析。為金屬切削加工質量、刀具壽命提供了研究依據。

1、切削加工中切削溫度測定方法
①自然熱電偶法和人工熱電偶法
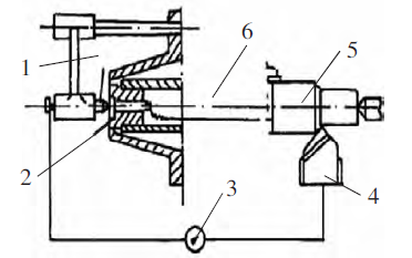
目前切削溫度測量方法應用廣泛,成熟可靠的是自然熱電偶法和人工熱電偶法。圖1所示為自然熱電偶測溫簡易裝置,作為自然熱電偶兩極的刀具、工件必須是具有不同化學成分的材質,刀具、工件、顯示儀表相連便組成了一個簡單的閉合電路。毫伏計兩端各接有分別來自工件、刀具引出端導線,切削加工時,切削區溫度上升,切削區的刀具工件就相當于一個熱端,毫伏計接連處相當于一個冷端(室溫),冷熱端之間因為溫差必然導致熱電勢,在該閉合電路里冷熱端形成的回路中的電動勢在毫伏表記錄下來,溫度值可從相對應的溫度與毫伏值標定獲知。。采用自然熱電偶法僅限于獲取平均切削溫度,它不能夠測量某一具體點溫度,而且針對不同刀具或工件材料,需要重新對溫度-毫伏值曲線進行標定。自然熱電偶測溫方法主要應用于車削加工。

圖1 自然熱電偶法測量切削溫度示意圖
1、鋼頂尖;2、銅銷;3、毫伏計;4、車刀;5、工件;6、車床主軸尾部
人工熱電偶法(見圖2)解決了自然熱電偶法只能測切削區平均溫度這一限制,其能夠測得切削區刀、屑、工件某一具體點的溫度。人工熱電偶是由2種絕緣的金屬絲構成的,而且金屬絲事先已進行標定,金屬絲焊接于刀具或工件的測溫點上或埋進測溫點開的小孔內(小孔會影響刀具里熱流及溫度分布,甚至減弱刀具強度,所以孔的直徑在滿足要求的情況下應盡可能的小),形成熱端。冷端通過導線串聯毫伏計,與自然熱電偶法同理,冷熱端之間因為溫差導致熱電勢,根據記錄的毫伏值和標定曲線得到熱端溫度。該法不用反復標定特定電偶材料,且電偶材質更換方便,但是對于高硬度材質的刀具,開孔后埋入金屬絲的操作過程困難,致使該法應用推廣受到限制。

a測刀具/b測工件
圖2 人工熱電偶法測量切削溫度示意圖
1、工件;2、刀具;3、毫伏計
新型薄膜熱電偶法采用真空蒸鍍,將熱電偶材料沉積在絕緣基板上形成的。熱電偶的材料雖然很多,但是必須保證工程技術可靠性、測量精確度。應滿足的要求:不同材料組成的熱電偶能夠輸出較大電動勢;熱電特性、物理性質、化學性質穩定;高導電率、低電阻溫度系數;較好的工藝性,以便成批生產。薄膜熱電偶采用的電極材料在500~1800℃時可用鎳鉻-鎳硅、鉑銠-鉑等。薄膜熱電偶可達到微米級(0.01~0.1μm)。其熱容量小,響應速度快,可用來測瞬變的表面溫度和微小面積上的溫度。大連理工大學的孫寶元教授等采用先進的磁控濺射和離子鍍技術,解決了絕緣、鍍膜牢固性問題。在刀具頭(見圖3)內部濺射二氧化硅絕緣膜并通過離子鍍技術將鎳鉻膜和鎳硅膜鍍在刀具上,補償導線采用與薄膜熱電偶材料相同的2mm的鎳鉻、鎳硅絲,在刀頭下半部加工通孔引出至與室溫一致處。由于熱電偶測溫接點位于刀尖,響應迅速,時間常數約為0.8ms。

圖3 薄膜熱電偶刀頭結構示意圖
1、熱電偶膜;2、3、絕緣膜
③熱電偶與軟件相結合的溫度測量系統
在切削溫度測量中,鉆削溫度是比較難測得的,單純采用熱電偶法會有許多局限,測量不便利,誤差較大。采用軟件與熱電偶等硬件相結合的方法是鉆削溫度測量的新渠道。軟件采用LABVIEW虛擬儀器技術實現,利用LABVIEW軟件模塊化、層次化軟件結構,建立鉆削溫度測試信號的界面系統。硬件部分由計算機、數據采集卡、放大電路和電耦回路組成(見圖4)。系統以半人工熱電偶作為傳感器,獲取信號后由數據采集卡送入計算機,在虛擬儀器界面獲取鉆削溫度相關數據或所需圖形。

圖4 鉆削溫度測試系統簡圖
1、虎鉗;2、墊塊;3、工件;4、鉆頭;5、卡具;6、主軸;7、計算機;8、康銅絲;9、放大電路;10、采集卡;11、工作臺
④紅外熱像儀法紅外熱像儀法
原理可用公式表示為輻射單元單位面積的輻射能量E,即 E=εσT4,公式中ε為物體輻射單元表面輻射率;σ為斯蒂芬-波爾茲曼常數;T為輻射單元的表面溫度。
該方法借助光機掃描器偵測加工面輻射出來的能量,電子信號由各輻射單元輻射能所轉換而成,處理后的信號最終可以以不同方式顯示出物體溫度圖像。如果ε是已知的,由定律可得輻射面溫度場分布情況。使用紅外熱像儀可非接觸測量物體大面積溫度分布,使用方便,但是其價格昂貴,且所測為相對溫度,比實際加工中的切削溫度值稍顯滯后。
⑤增強CCD相機法
CCD即Charge Coupled Device,由半導體材料制作成,具有高感光度,其成像原理是將拍攝到的光線轉換為電荷,電荷再經過模數轉換器芯片轉變成數字信號,壓縮處理數字信號上傳至電腦中,最終得到所采集圖像。增強CCD相機曝光時間很短,干擾濾光片0.8μm,在可見光譜范圍內,對切削區進行拍攝,便可獲得切削加工過程中切削溫度場的表征圖像,切削溫度分布情況依據標定的“溫度-相機亮度水平”來確定。因為增強CCD相機測溫方法是一種光學測溫法,所以測量切削溫度時可避免接觸加工刀具工件,其拍攝響應時間比較短,有很高的分辨率,制約條件是光學輻射波長。雖然該方法測溫具有許多優勢,但是對于切削加工,動態切削區測溫表面的不恒定性導致輻射系數也是不穩定的,輻射系數會受試件相變、刀具工件表面溫度等眾多因素的影響,最終成像與實際情況有一定差異。圖5為增強CCD相機法測溫裝置示意。

圖5 增強CCD相機法測溫裝置示意圖
1、增強CCD相機;2、分束鏡;3、濾光鏡;4、透鏡;5、氫氖激光器;6、試件;7、發射管;8、投射體;9、切屑;10、密封黑箱;11、刀片;12、刀夾體;13、傳遞管
⑥一種適于鉆削的紅外測溫法
紅外測溫法是輻射式測溫的一種,利用物體的熱輻射現象來測量物體溫度。紅外測溫儀主要包括光學系統、光電探測器、信號放大器及信號處理、顯示輸出等部分。在鉆削加工中,針對筒壁內表面溫度難以直接測得的情況,采用響應速度快、靈敏度高、體積小的紅外傳感器對鉆削溫度進行間接測試的方法。無論密封與非密封狀態,被測物體內部溫度場會隨著所處環境溫度場的變化而變化,其間存在著某一對應關系。根據傳熱學理論,如果被測介質隨環境溫度的變化關系是已知的,通過測定被測體外表面的溫度,所需點的溫度便可間接獲得。圖6為一種對藥筒進行鉆削試驗的紅外測溫裝置示意圖,試驗中使用不同的切削參數對上下表面進行同步測溫。試驗中事先在筒內的一端開一小口將紅外傳感器裝入筒壁內以測量內壁溫度。

圖6 一種鉆削試驗紅外測溫裝置示意圖
1、步進電機;2、蝸輪蝸桿減速機;3、主軸;4、鉆頭;5、紅外傳感器
⑦有限元模擬仿真計算
在某些切削加工環境惡劣,直接測量溫度條件復雜的情況下,一些大型通用有限元分析軟件對于研究分析切削溫度起著十分重要的作用,如ALGOR、ABAQUS、MSC.MARC、DEFORM、ADVANTEDGEFEM等軟件設置有熱傳導分析功能,支持瞬態傳熱分析、非線性傳熱分析,可以對切削加工工件或刀具溫度場進行模擬仿真。其基本原理是對連續體進行近似計算的一種數值方法,通過導入物體,并對其進行網格劃分,定義材料屬性、邊界條件、初始條件、幾何特性等相關設定后,利用計算機計算,得到所需的溫度場數據、圖像,以非實驗手段直觀了解切削過程中溫度變化規律。
2、其他測溫方法
除上述測溫方法外,還有金相結構法、光纖紅外測溫法、定熔點粉末法、雙色高溫計法、pbs法、硅光電池法等。金相結構法是對比切削前后刀具或者工件顯微組織變化來研究切削溫度的改變,此方法比較繁瑣,工作量大,僅適于金屬材質。光纖紅外測溫是非接觸測量,光纖紅外測溫儀體積小,廉價且易安裝,應用場合廣泛。定熔點粉末法在切削區放置金屬細粉末,這些粉末熔點是確定的,當切削時,上升溫度會使達到熔點的金屬粉末熔化,通過觀察金屬細粉末熔化情況考察切削區溫度。雙色高溫計法利用2種不同波長下所測體光譜輻射亮度比值,即溫度的單值函數來測量。pbs法用pbs作為感光半導體,其與雙色高溫計法均屬于輻射測溫法。硅光電池法以光生伏特型紅外探測器為基礎,其可測高速運動物體的小面積的表面溫度。
3、結語
基于切削溫度對切削加工的重要影響,研究實用的切削溫度測量技術是很有必要的。通過文中各種測溫方法的綜述得知,熱電偶法測溫雖然直接但是前期準備工作繁瑣,重復使用效率低。新型薄膜熱電偶法采用先進的磁控濺射和離子鍍技術,解決了絕緣、鍍膜牢固性問題,可快捷測得刀部溫度。紅外熱像儀法價格比較昂貴且現場不便于安裝。而紅外測溫法體積小便于安裝使用,可應用于某些鉆削場合。有限元軟件及其他計算機軟件對切削加工溫度的測量也體現了計算機數值計算的優勢,在有限的條件下將試驗硬件與計算機軟件結合使用,不僅對切削溫度測試提供了極大便利,也符合未來研究發展趨勢。由于各類型切削溫度測量方法優缺點各異,應用范圍也不盡相同,為實現更高精度、動態測量,要根據具體切削加工試驗、特殊加工條件對所需測溫方法進行深入改善和研究。如若能研制出某種耐高溫、耐磨損的高性能溫度傳感器,將其嵌入或安裝于刀具切削區適當的部位,再與計算機及相關軟件器材組合,形成一個完整的測溫體系,就可以便捷地測得所需動態瞬時溫度,并直觀查看。當然,該測溫體系的實現還需要專業人員進行長期深入的研究。
相關閱讀
◆常用溫度測量方法
